Seilbahnunglück Mottarone - Italien (Piemont) 23.05.21
-
Lagorce
- Rigi-Kulm (1797m)
- Beiträge: 1886
- Registriert: 20.12.2006 - 09:16
- Skitage 25/26: 0
- Hat sich bedankt: 5 Mal
- Danksagung erhalten: 266 Mal
Re: Seilbahnunglück Mottarone - Italien (Piemont) 23.05.21
Vergusskopf für Zugseil ist m.E. nicht gerade das Paradebeispiel. Bevorziehe eigentlich trockene Seilköpfe, die mit dem Konus und Alu-Draht (ETHZ Seilkopf).
Zahlreiche Pendelbahnen sind mit einem Schwingungsdämpfer für das obere sowie das untere Zugseil ausgestattet.
Ausführliche technische Reportage über eine grosse moderne fangbremsenlose 125er Pendelbahn (125-ATW, 125ATW) mit integrierter Räumung (auf Französisch), da sieht man besser wie technisch hochgezüchtet solche Anlagen sind:
https://www.remontees-mecaniques.net/fo ... 0&p=245256
Entspricht dem aktuellen Stand der Technik, lediglich die Steuerung wird all paar Jahre was moderner. Sonst ist die Technologie für klassische grosse Pendelbahnen bereits seit einiger Zeit weitgehendst ausgereift. Mit den exotischen vermeintlich innovativen Pendelbahnen gibt's im Vergleich viel mehr Probleme.
Bei Seilbahnen gilt das KISS Prinzip (https://en.wikipedia.org/wiki/KISS_principle)... gegen das Creissels sein Leben lang kämpfte.
Zahlreiche Pendelbahnen sind mit einem Schwingungsdämpfer für das obere sowie das untere Zugseil ausgestattet.
Ausführliche technische Reportage über eine grosse moderne fangbremsenlose 125er Pendelbahn (125-ATW, 125ATW) mit integrierter Räumung (auf Französisch), da sieht man besser wie technisch hochgezüchtet solche Anlagen sind:
https://www.remontees-mecaniques.net/fo ... 0&p=245256
Entspricht dem aktuellen Stand der Technik, lediglich die Steuerung wird all paar Jahre was moderner. Sonst ist die Technologie für klassische grosse Pendelbahnen bereits seit einiger Zeit weitgehendst ausgereift. Mit den exotischen vermeintlich innovativen Pendelbahnen gibt's im Vergleich viel mehr Probleme.
Bei Seilbahnen gilt das KISS Prinzip (https://en.wikipedia.org/wiki/KISS_principle)... gegen das Creissels sein Leben lang kämpfte.
-
AreSee
- Massada (5m)
- Beiträge: 20
- Registriert: 31.12.2016 - 06:59
- Skitage 25/26: 0
- Ski: nein
- Snowboard: nein
- Hat sich bedankt: 0
- Danksagung erhalten: 0
Re: Seilbahnunglück Mottarone - Italien (Piemont) 23.05.21
Genau diesen Punkt habe ich mit den Normen gemeint. Die Bewilligungen und Vorgaben basieren ja auf den Normen und Regeln der Technik. Und da kann ich auch dabei bleiben das Gerichte sich auf genau diesen auch stützen werden.Bjoerndetmold hat geschrieben: 27.05.2021 - 11:07Da hast Du natürlich Recht, an Betriebsbewilligung und Herstellervorgaben habe ich nicht gedacht.Lagorce hat geschrieben: 27.05.2021 - 10:45 Pendelbahnen, denen ursprünglich die Betriebsbewilligung im Zustand mit Fangbremse erteilt wurde, können selbstverständlich nicht einfach ohne Fangbremse betrieben werden. Will man auf fangbremselos umstellen, würde dies einige Anpassungen erfordern und damit müsste nochmals die ganze Anlage zugelassen werden. Demnach ist sowas ausser evtl. bei quasi kompletter Erneuerung der nahezu gesamten Elektromechanik kaum vorstellbar. Existierende Bahnen umstellen, alles nachrechnen und zulassen lassen ist nicht realistisch.
Und BTW, die von den Aufsichtsbehörden abgesegneten Betriebsanweisungen des Herstellers sind für den Betreiber rechtlich verbindlich da ein Befolgen der Herstellerauflagen gesetzlich vorgeschrieben ist (näheres dazu können die Juristen beisteuern).
-
MarcB96
- Vogelsberg (520m)
- Beiträge: 563
- Registriert: 29.11.2018 - 19:46
- Skitage 25/26: 0
- Ski: nein
- Snowboard: nein
- Hat sich bedankt: 94 Mal
- Danksagung erhalten: 149 Mal
Re: Seilbahnunglück Mottarone - Italien (Piemont) 23.05.21
Sofern die Kabine bei der Auslösung eine sehr geringe Geschwindigkeit gehabt hätte. Zum Vergleich mit einem Bus...die Verzögerung ist selbst wenn die Notbremsung bei sehr geringer Geschwindigkeit (maximal Schrittgeschwindigkeit) passiert, enorm (also ohne gut festhalten bleibt man definitiv nicht an dem Platz wo man davor war...).Lagorce hat geschrieben: 27.05.2021 - 08:42
Ohne die Blockierbügel hätte die Fangbremse mit wirklich sehr hoher Wahrscheinlichkeit den Unfall verhindert.
Aufgrund der Vorliegenden Bedingungen wäre zwar die Verzögerung (Abbremsung) recht hoch gewesen, diese hätte dennoch kaum zu sehr ernsthaften Verletzungen geführt (etwa vergleichbar mit einer Notbremsung bei einem Bus wobei ich dies nicht nachberechnet habe, also eine reine gefühlsmässige Einschätzung meinerseits was den Vergleich mit dem Bus betrifft).
Bei Notbremsungen bei höheren Geschwindigkeiten kann es durchaus vorkommen, dass ein Fahrgast vor dem Bus landet (quasi von mittig im Bus inkl. Frontscheibe ein paar m vor dem Bus).
Ich könnte mir jedoch vorstellen, dass bei einer Seilbahn die Verzögerung durch das Schwingen der Kabine und des Seils (in dem Test-Video von der alten Ötztaler Gletscherbahn ist das ja ziemlich gut sichtbar) im Normalfall so stark minimiert wird, dass von der Bremsverzögerung bei den Fahrgästen eher wenig ankommt (zumindest nicht genug für schwere Verletzungen).
- keepar
- Massada (5m)
- Beiträge: 17
- Registriert: 03.06.2012 - 20:06
- Skitage 25/26: 0
- Ski: ja
- Snowboard: nein
- Hat sich bedankt: 0
- Danksagung erhalten: 5 Mal
Re: Seilbahnunglück Mottarone - Italien (Piemont) 23.05.21
Danke für dieses interessante Detail. Ein Zugseilriss auf offener Strecke ist meines Erachtens höchst unwahrscheinlich.Drahtseil hat geschrieben: 26.05.2021 - 21:53
Es sieht ganz danach aus, dass das Zugseil direkt am oder im Klemmkopf abgerissen ist. Dafür spricht eindeutig, dass zum ersten der Klemmkopf plan am Baum anliegt. Das wäre so mit Seil definitiv nicht möglich. Zudem ist auf diversen Drohenaufnahmen nur ein Seil zu sehen, was zwischen Stütze 3 und der abgestürzten Kabine liegt. Dieses ist das talseitige Zugseil, welches von Laufwerk in Teilen zu Tal gezogen wurde. Ein teil davon verfing sich dann an Stütze 3, der Rest liegt verteilt auf dem Boden.
Das mittige sind die Hydraulikleitungen der Tragseilbremse, die abgerissen sind und nun lose herunterhängen.MarcB96 hat geschrieben: 26.05.2021 - 21:51 Auf diesem Bild https://static.fanpage.it/wp-content/up ... tarone.jpg kann man erkennen, dass das Zugseil rechts noch am Laufwerk zu hängen scheint, aber nicht links (hab nur keine Erklärung für das Seil, dass mittig etwa unterhalb der Klammer auf der Fangbremse runterhängt). Leider erkennt man den Bereich wo das Zugseil an der Kabine befestigt ist nicht.
Theorie: 1) Die Klemm- oder Vergussköpfe wurde schon eine Weile nicht mehr erneuert. 2) Der Klemm- oder Vergusskopf hatte keine oder sehr alte Dämpfer. 3) Das Zugseil schwingt vor der Bergstation jeweils so stark, so dass beim Knickpunkt vor dem Klemm- oder Vergusskopf Drahtbrüche entstehen und das Zugseil dann plötzlich an dieser Stelle reisst. In diesem Fall wohl tatsächlich bei der grössten Belastung bzw. bei den stärksten Schwingungen, nämlich vor der Bergstation.
-
Lagorce
- Rigi-Kulm (1797m)
- Beiträge: 1886
- Registriert: 20.12.2006 - 09:16
- Skitage 25/26: 0
- Hat sich bedankt: 5 Mal
- Danksagung erhalten: 266 Mal
Re: Seilbahnunglück Mottarone - Italien (Piemont) 23.05.21
Die Zugseilschwingungen sind hier eher harmlos, man vergleiche die mal mit der Aiguille du Midi Bahn (Video weiter oben verlinkt, gibt jedoch noch viel spektakulärere Videos, die dort die Zugseilschwingungen zeigen).
In einem Foto sieht es so aus, as würde hinten am bergseitigen Seilkopf etwas fehlen, kann es jedoch nicht genügend gut sehen.
Interessant wäre eine Schnittzeichnung des Seilkopfes inkl. dem Teil mit dem Hydraulikventil, damit man genau sieht, wie die Teile zusammengehalten werden.
Beim Seilaustritt ist möglicherweise eine braune Dämpfungshülse aus Elastomer, kann dies jedoch auch hier nicht ausreichend gut sehen.
Wie bereits erwähnt kenn ich diesen Seilkopf nicht.
In einem Foto sieht es so aus, as würde hinten am bergseitigen Seilkopf etwas fehlen, kann es jedoch nicht genügend gut sehen.
Interessant wäre eine Schnittzeichnung des Seilkopfes inkl. dem Teil mit dem Hydraulikventil, damit man genau sieht, wie die Teile zusammengehalten werden.
Beim Seilaustritt ist möglicherweise eine braune Dämpfungshülse aus Elastomer, kann dies jedoch auch hier nicht ausreichend gut sehen.
Wie bereits erwähnt kenn ich diesen Seilkopf nicht.
-
Liftler1976
- Massada (5m)
- Beiträge: 61
- Registriert: 18.03.2018 - 11:10
- Skitage 25/26: 0
- Ski: ja
- Snowboard: nein
- Hat sich bedankt: 7 Mal
- Danksagung erhalten: 22 Mal
Re: Seilbahnunglück Mottarone - Italien (Piemont) 23.05.21
Auch meiner Meinung nach ist das Zugseil am Klemm- oder Vergusskopf gerissen, und das Schwingen des Zug oder Gegeseils in diesem Fall hatte ich schon früher erwähnt. Auf diesem Foto könnte man es am ehesten erkennen:
-
Lagorce
- Rigi-Kulm (1797m)
- Beiträge: 1886
- Registriert: 20.12.2006 - 09:16
- Skitage 25/26: 0
- Hat sich bedankt: 5 Mal
- Danksagung erhalten: 266 Mal
Re: Seilbahnunglück Mottarone - Italien (Piemont) 23.05.21
Video wo man sieht, wo der zweite Blockierbügel gefunden wurde:
https://www.youtube.com/watch?v=nr4J6kafBZ8
Fall ist klar da Bügel direkt in den Trümmern gefunden wurde. Demnach ist der Blockierbügel erst bei der Kollision des Fahrzeugs Nr. 3 mit dem Baum oder unmittelbar zuvor vom Montageort oberhalb der Fangbremsenbremszange weggedrückt worden.
Interessant, wie da alles zertrampelt wird. Doch merkwürdige Vorghehensweise für eine Ground Zero Spurensicherung, egal ob sonntags und montags bereits einiges erledigt wurde. Und überall wird fotografiert und gefimt und dennoch finden wir nirgends die Bilder, die für uns hier wirklich sinnvoll wären.
Siehe auch andere YouTube Videos von Local Team.
Gem. Luftaufnahmen sieht es so aus, als wäre das obere Zugseil vollständig aus der Gegenstation gezogen worden wäre (bleibt jedoch zu bestätigen).
Bildquelle Laufwerk (weiss jedoch nicht von welchem Fahrzeug, logischerweise sind jedoch alle vier Lauferke identisch aufgebaut):
Funiforum:
https://www.funiforum.org/funiforum/node/251433/
Hier sieht man gut wie der Seilfänger (der am anderen Ende des Laufwerks ist nicht im Bild sichtbar). Zusammen mit den Bremszangen der Fangbremse dienen diese Teile Entgleiseschutz. Dies erklärt auch, weshallb das Laufwerk nicht früher entgleiste.
https://www.youtube.com/watch?v=nr4J6kafBZ8
Fall ist klar da Bügel direkt in den Trümmern gefunden wurde. Demnach ist der Blockierbügel erst bei der Kollision des Fahrzeugs Nr. 3 mit dem Baum oder unmittelbar zuvor vom Montageort oberhalb der Fangbremsenbremszange weggedrückt worden.
Interessant, wie da alles zertrampelt wird. Doch merkwürdige Vorghehensweise für eine Ground Zero Spurensicherung, egal ob sonntags und montags bereits einiges erledigt wurde. Und überall wird fotografiert und gefimt und dennoch finden wir nirgends die Bilder, die für uns hier wirklich sinnvoll wären.
Siehe auch andere YouTube Videos von Local Team.
Gem. Luftaufnahmen sieht es so aus, als wäre das obere Zugseil vollständig aus der Gegenstation gezogen worden wäre (bleibt jedoch zu bestätigen).
Bildquelle Laufwerk (weiss jedoch nicht von welchem Fahrzeug, logischerweise sind jedoch alle vier Lauferke identisch aufgebaut):
Funiforum:
https://www.funiforum.org/funiforum/node/251433/
Hier sieht man gut wie der Seilfänger (der am anderen Ende des Laufwerks ist nicht im Bild sichtbar). Zusammen mit den Bremszangen der Fangbremse dienen diese Teile Entgleiseschutz. Dies erklärt auch, weshallb das Laufwerk nicht früher entgleiste.
-
Marco
- Großer Müggelberg (115m)
- Beiträge: 149
- Registriert: 14.11.2002 - 12:56
- Skitage 25/26: 0
- Ski: ja
- Snowboard: nein
- Ort: Fürth
- Hat sich bedankt: 0
- Danksagung erhalten: 22 Mal
Re: Seilbahnunglück Mottarone - Italien (Piemont) 23.05.21
https://orf.at/stories/3214912/Neben drei Festgenommenen werden die Ermittlungen nun auf weitere mögliche Mitwisser ausgedehnt.
IceTigers rulez !
-
Liftler1976
- Massada (5m)
- Beiträge: 61
- Registriert: 18.03.2018 - 11:10
- Skitage 25/26: 0
- Ski: ja
- Snowboard: nein
- Hat sich bedankt: 7 Mal
- Danksagung erhalten: 22 Mal
Re: Seilbahnunglück Mottarone - Italien (Piemont) 23.05.21
Ich nehme an das Teil hier:
ist dieses Teil nach dem Unfall, also kein Bergseitiges Zug- oder Gegenseil mehr da:
Deshalb meine Vermutung dass das Zugseil am Klemm- oder Vergusskopf gerissen ist.
ist dieses Teil nach dem Unfall, also kein Bergseitiges Zug- oder Gegenseil mehr da:
Deshalb meine Vermutung dass das Zugseil am Klemm- oder Vergusskopf gerissen ist.
-
Lagorce
- Rigi-Kulm (1797m)
- Beiträge: 1886
- Registriert: 20.12.2006 - 09:16
- Skitage 25/26: 0
- Hat sich bedankt: 5 Mal
- Danksagung erhalten: 266 Mal
Re: Seilbahnunglück Mottarone - Italien (Piemont) 23.05.21
Ja. Danke für die Nebeneinandarstellung, so ist es einfacher die Bilder zu vergleichen.
Sehe ich das was falsch, oder ist das hintere Teil etwas anders ausgeführt, also zwei Varianten?
Kennt jemand diese Seilkopf-Bauart genau?
Sehe ich das was falsch, oder ist das hintere Teil etwas anders ausgeführt, also zwei Varianten?
Kennt jemand diese Seilkopf-Bauart genau?
- icedtea
- Jungfrau (4161m)
- Beiträge: 4441
- Registriert: 23.10.2018 - 13:40
- Skitage 25/26: 0
- Ski: ja
- Snowboard: nein
- Ort: Rhein-Main-Tiefebene
- Hat sich bedankt: 5875 Mal
- Danksagung erhalten: 1987 Mal
Re: Seilbahnunglück Mottarone - Italien (Piemont) 23.05.21
Mal wieder eine (bzw. zwei) Laienfragen zu den letzten Fotos.
Wenn das Seil direkt an der Gondel gerissen ist, dürfte die Schädigung dann nicht eventuell mit den "Bremsungen" zu tun haben, die offensichtlich in den letzten Wochen vorkamen und zur "dauerhaften" Blockierung der Fangbremse geführt haben? Und müssten dann nicht auch an der anderen Gondel an der entsprechenden Stelle des Seils auch Schäden vorliegen?
Wenn das Seil direkt an der Gondel gerissen ist, dürfte die Schädigung dann nicht eventuell mit den "Bremsungen" zu tun haben, die offensichtlich in den letzten Wochen vorkamen und zur "dauerhaften" Blockierung der Fangbremse geführt haben? Und müssten dann nicht auch an der anderen Gondel an der entsprechenden Stelle des Seils auch Schäden vorliegen?
Wo ich schon war:
Hochzeiger (1989), Ski-Zillertal 3000 außer Gletscher (viele Jahre ab 1993
), Kronplatz (2006), Söllereck (2008), Hauser Kaibling (2009 und 2014), Wildkogel (2010 - 2012), Maiskogel, Pass Thurn/Resterhöhe; Schmittenhöhe (2013), Hochzillertal/Hochfügen, Spieljoch (2016 - 2019), Alpendorf/Wagrain/Flachau (2015 und 2018), Damüls/Mellau (2017), Planai/Hochwurzen (2019), Willingen (2019), Schnalstaler Gletscher (2019), Laax, Silvretta-Montafon, Brandnertal, Golm (2020), Hundseck (2021), Winterberg (2021), Arosa-Lenzerheide (2022), St. Moritz (2022), Ortisei, Seiser Alm und Sella Ronda (2023)
Als nächstes:
Hochzeiger (1989), Ski-Zillertal 3000 außer Gletscher (viele Jahre ab 1993
Als nächstes:
↓ Mehr anzeigen... ↓
-
Reginleif
- Feldberg (1493m)
- Beiträge: 1706
- Registriert: 23.01.2019 - 11:13
- Skitage 25/26: 0
- Ski: ja
- Snowboard: nein
- Hat sich bedankt: 201 Mal
- Danksagung erhalten: 697 Mal
Re: Seilbahnunglück Mottarone - Italien (Piemont) 23.05.21
Ich kenn mich damit jetzt absolut nicht aus, aber die Mutter, die man an der kaputten Gondel am Baum sieht, ist doch im intakten Zustand nicht zu sehen, weil da dieser Ring drumherum ist.
Hinter der Mutter befindet sich eine Querbohrung, ich vermute jetzt einfach mal, dass über diese irgenwie die Teile miteinander mit einem Bolzen verbunden werden.
Ich hab wirklich wenig Ahnung, aber für mich sieht es so aus, als wäre das Seil gar nicht gerissen, sondern die Verbindung. Und das Seil steckt noch im anderen Ende der Muffe. Oder wurde dann vermutlich im späteren Verlauf hier rausgerissen.
Aber ein Teil dieser Klemme/Muffe fehlt doch definitiv an der Godel, die Verbindung könnte also hier und nicht am Seil gebrochen sein. Das würde man ja aber eigentlich schnell herausfinden, wenn man sich das Ende das Seils anschaut und den Rest der Kupplung eventuell irgendwo anders auffindet.
Hinter der Mutter befindet sich eine Querbohrung, ich vermute jetzt einfach mal, dass über diese irgenwie die Teile miteinander mit einem Bolzen verbunden werden.
Ich hab wirklich wenig Ahnung, aber für mich sieht es so aus, als wäre das Seil gar nicht gerissen, sondern die Verbindung. Und das Seil steckt noch im anderen Ende der Muffe. Oder wurde dann vermutlich im späteren Verlauf hier rausgerissen.
Aber ein Teil dieser Klemme/Muffe fehlt doch definitiv an der Godel, die Verbindung könnte also hier und nicht am Seil gebrochen sein. Das würde man ja aber eigentlich schnell herausfinden, wenn man sich das Ende das Seils anschaut und den Rest der Kupplung eventuell irgendwo anders auffindet.
Zuletzt geändert von Reginleif am 27.05.2021 - 17:09, insgesamt 1-mal geändert.
Saison 22/23: Skitage 7: 1x Hochgurgl/Obergurgl, 1x Pitztaler Gletscher, 1x Serfaus-Fiss-Ladis, 1x Sölden, 1x Hintertuxer Gletscher, 1x See, 1x Ischgl
Saison 21/22: Skitage 6: 1x Ofterschwanger Horn, 1x Ischgl, 1x Serfaus-Fiss-Ladis, 1x Nauders, 1x Hochgurgl/Obergurgl, 1x Sölden
Saison 19/20: Skitage 9: 2x Hochgurgl/Obergurgl, 1x Kappl, 1x See, 1x Nauders, 1x Serfaus-Fiss-Ladis, 1x Pitztaler Gletscher, 1x Diedamskopf, 1x Fellhorn/Kanzelwand
Saison 18/19: Skitage 16: 2x Hochgurgl/Obergurgl, 3x Davos, 1x Hochzeiger, 2x Sölden, 2x Serfaus-Fiss-Ladis, 1x Thaler Höhe, 1x Arlberg, 1x Iberg, 1x Oberjoch, 1x Brandnertal, 1x Pitztaler Gletscher
Saison 21/22: Skitage 6: 1x Ofterschwanger Horn, 1x Ischgl, 1x Serfaus-Fiss-Ladis, 1x Nauders, 1x Hochgurgl/Obergurgl, 1x Sölden
Saison 19/20: Skitage 9: 2x Hochgurgl/Obergurgl, 1x Kappl, 1x See, 1x Nauders, 1x Serfaus-Fiss-Ladis, 1x Pitztaler Gletscher, 1x Diedamskopf, 1x Fellhorn/Kanzelwand
Saison 18/19: Skitage 16: 2x Hochgurgl/Obergurgl, 3x Davos, 1x Hochzeiger, 2x Sölden, 2x Serfaus-Fiss-Ladis, 1x Thaler Höhe, 1x Arlberg, 1x Iberg, 1x Oberjoch, 1x Brandnertal, 1x Pitztaler Gletscher
↓ Mehr anzeigen... ↓
-
schneesucher
- Feldberg (1493m)
- Beiträge: 1598
- Registriert: 09.10.2006 - 17:15
- Skitage 25/26: 0
- Ski: ja
- Snowboard: nein
- Hat sich bedankt: 227 Mal
- Danksagung erhalten: 90 Mal
Re: Seilbahnunglück Mottarone - Italien (Piemont) 23.05.21
Ich glaube nicht, dass Zugseilschwingungen harmlos sind. Was tut man, um einen Draht von Hand zu trennen? Man biegt ihn einfach mehrmals hin und her bis er bricht. Deshalb halte ich die hier geäusserte Theorie, dass das Seil an der Knickstelle (aus-)gerissen sei, für die derzeit wahrscheinlichste Theorie.Lagorce hat geschrieben: 27.05.2021 - 13:44 Die Zugseilschwingungen sind hier eher harmlos, man vergleiche die mal mit der Aiguille du Midi Bahn (Video weiter oben verlinkt, gibt jedoch noch viel spektakulärere Videos, die dort die Zugseilschwingungen zeigen).
In einem Foto sieht es so aus, as würde hinten am bergseitigen Seilkopf etwas fehlen, kann es jedoch nicht genügend gut sehen.
Interessant wäre eine Schnittzeichnung des Seilkopfes inkl. dem Teil mit dem Hydraulikventil, damit man genau sieht, wie die Teile zusammengehalten werden.
Beim Seilaustritt ist möglicherweise eine braune Dämpfungshülse aus Elastomer, kann dies jedoch auch hier nicht ausreichend gut sehen.
Wie bereits erwähnt kenn ich diesen Seilkopf nicht.
ttramp hat geschrieben: 26.05.2021 - 22:40 Nachdem ich hier im Forum häufig Beiträge mitlese, bin ich nun auf eine mögliche Ursache für den Seilriss gekommen.
Das Zugseil ist teilweise starken Schwingungen ausgesetzt (wie in den Videos ersichtlich, z.B. vor dem Überfahren an Stützen). Diese Schwingungen sind Vergleichbar mit Hammerschlägen an den Tragrollen auf das Seil. Diese Hammerschläge führen zur Martensitbildung und irgendwann zu einem Sprödbruch. Martensit auf Drähten ist nur schwer zu erkennen (Schliffbild mit Ätzen). Dies würde auch erklären, warum das Seil im näheren Bereich der Gondel gerissen ist.
Das Aiguille du Midi Beispiel überzeugt mich hier nicht, da nicht klar ist, wie häufig das Phänomen auftritt (ich würde vermuten man wird die Bahn bei vorhersehbarem Sturm schliessen) und welche Massnahmen dagegen unternommen werden (z. B häufigerer Wechsel des Zugseiles).
Im Übrigen halte ich die Aussage, ein Zugseil könne nicht brechen, wie hier vom Experten "Einen Zugseilriss gibt es für mich gar nicht" für problematisch. Das tönt für mich wie nach der "unsinkbaren Titanic". Erstaunlich angesichts seiner Position. Es gibt so unglaublich viele Möglichkeiten, dass ein Seil doch zerstört werden kann. Siehe Mürren, wo angeblich ein chemischer Prozess für den Teilriss verantwortlich war.
-
Lagorce
- Rigi-Kulm (1797m)
- Beiträge: 1886
- Registriert: 20.12.2006 - 09:16
- Skitage 25/26: 0
- Hat sich bedankt: 5 Mal
- Danksagung erhalten: 266 Mal
Re: Seilbahnunglück Mottarone - Italien (Piemont) 23.05.21
Ich kann mich nicht zum Aufbau des Seilkopes äussern, da ich den nicht kenne.
Habe noch einiges an Bildmaterial angesehen und schliesse mich demnach an Stahlseil an, siehe weiter oben.
Na ja, er kennt sich ja auch viel besser aus. Hatte irgendwie ein Foto in Errinnerung wo ich meinte, das Seil wäre vom Baumstamm verdeckt so dass es wie eine optische Täuschung auf dem Foto aussehen würde.
Nach einer Auslösung der Fangbremse während der Fahrt muss das Tragseil auf dem entsprechenden Abschnitt kontrolliert werden und ggf. müssen metallische Ablagerungen von den Bremsbelägen der Fangbremsenbremszangen entfernt werden. Zudem sind ggf. auch die Bremsbeläge auszutauschen, da das gesamte Abtragsvolumen (Anzahl mm3 Bremsbelagsmaterial, dass aufgebraucht wird, bzw. werden darf) gem. Auslegung bei Worst-Case Fangbremseneinsatz noch zur Verfügung stehen muss (entspricht dem längsten Bremsweg).
Bremsgarnituren sind je nach Ausführung mehr oder weniger subtil aufgebaut. In Pendelbahnen steckt einiges an Know-How drin, das man als Fahrgast gar nicht wahr nimmt. Z.B. die Querpendeldämpfung oder dass gewisse Laufwerke leicht kurvengängig sind.
Siehe ebenfalls hier:
https://www.bav.admin.ch/dam/bav/de/dok ... bremse.pdf
Habe noch einiges an Bildmaterial angesehen und schliesse mich demnach an Stahlseil an, siehe weiter oben.
Na ja, er kennt sich ja auch viel besser aus. Hatte irgendwie ein Foto in Errinnerung wo ich meinte, das Seil wäre vom Baumstamm verdeckt so dass es wie eine optische Täuschung auf dem Foto aussehen würde.
Nach einer Auslösung der Fangbremse während der Fahrt muss das Tragseil auf dem entsprechenden Abschnitt kontrolliert werden und ggf. müssen metallische Ablagerungen von den Bremsbelägen der Fangbremsenbremszangen entfernt werden. Zudem sind ggf. auch die Bremsbeläge auszutauschen, da das gesamte Abtragsvolumen (Anzahl mm3 Bremsbelagsmaterial, dass aufgebraucht wird, bzw. werden darf) gem. Auslegung bei Worst-Case Fangbremseneinsatz noch zur Verfügung stehen muss (entspricht dem längsten Bremsweg).
Bremsgarnituren sind je nach Ausführung mehr oder weniger subtil aufgebaut. In Pendelbahnen steckt einiges an Know-How drin, das man als Fahrgast gar nicht wahr nimmt. Z.B. die Querpendeldämpfung oder dass gewisse Laufwerke leicht kurvengängig sind.
Siehe ebenfalls hier:
https://www.bav.admin.ch/dam/bav/de/dok ... bremse.pdf
-
Liftler1976
- Massada (5m)
- Beiträge: 61
- Registriert: 18.03.2018 - 11:10
- Skitage 25/26: 0
- Ski: ja
- Snowboard: nein
- Hat sich bedankt: 7 Mal
- Danksagung erhalten: 22 Mal
Re: Seilbahnunglück Mottarone - Italien (Piemont) 23.05.21
Wenn man ein Prinzipschema von einem Seil- Klemmkopf ansieht, kann man feststellen dass Teil 7 und 2 (vielleicht teilweise) noch vorhanden sind.
Was dann genau versagt hat, fürchte ich, können wir hier nicht klären:
Was dann genau versagt hat, fürchte ich, können wir hier nicht klären:
- Drahtseil
- Rigi-Kulm (1797m)
- Beiträge: 2132
- Registriert: 17.04.2011 - 21:17
- Skitage 25/26: 0
- Ski: ja
- Snowboard: ja
- Hat sich bedankt: 0
- Danksagung erhalten: 349 Mal
Re: Seilbahnunglück Mottarone - Italien (Piemont) 23.05.21
Ja, ich meine die wären leicht unterschiedlich. Der bergseitige Kopf müsste vom Außendurchmesser her größer sein, auch ist dieser mit dem sehr markanten Sechskant "ausgestattet".Lagorce hat geschrieben: 27.05.2021 - 17:00 Ja. Danke für die Nebeneinandarstellung, so ist es einfacher die Bilder zu vergleichen.
Sehe ich das was falsch, oder ist das hintere Teil etwas anders ausgeführt, also zwei Varianten?
Kennt jemand diese Seilkopf-Bauart genau?
Ganz vorne sind (so vermute ich) die Überreste der Kunststoffspitze zu sehen, diese wurde bei Aufschlag auf den Baum zusammengedrückt.
Möglich, muss aber nicht sein. Bei dieser hat man offensichtlich weniger oft die Bremsen überbrückt, was darauf hindeutet, dass das Problem hier seltener vorkommt. Im Falle einer Fehlauslösung bei einer der Kabinen stoppt natürlich auch die andere Kabine, allerdings nimmt das dazwischenliegende Zugseil einen Großteil der dynamischen Energie auf (Indem es sich selbst aufschwingt). Dadurch ist die Belastung am anderen Kopf geringer. Zu prüfen wäre das natürlich trotzdem.icedtea hat geschrieben: 27.05.2021 - 17:04Und müssten dann nicht auch an der anderen Gondel an der entsprechenden Stelle des Seils auch Schäden vorliegen?
"Ein Leben ohne Alpinforum ist möglich, aber sinnlos"
-
schneesucher
- Feldberg (1493m)
- Beiträge: 1598
- Registriert: 09.10.2006 - 17:15
- Skitage 25/26: 0
- Ski: ja
- Snowboard: nein
- Hat sich bedankt: 227 Mal
- Danksagung erhalten: 90 Mal
Re: Seilbahnunglück Mottarone - Italien (Piemont) 23.05.21
Vielen Dank, interessant. Wie wird dafür gesorgt, dass das innere Teil(5) nicht aus dem äusseren (7) herausrutscht? Schrauben?Liftler1976 hat geschrieben: 27.05.2021 - 18:08 Wenn man ein Prinzipschema von einem Seil- Klemmkopf ansieht, kann man feststellen dass Teil 7 und 2 (vielleicht teilweise) noch vorhanden sind.
Was dann genau versagt hat, fürchte ich, können wir hier nicht klären:
AA0DD583-0794-43F5-802A-1550A45ABAED.jpeg
- Drahtseil
- Rigi-Kulm (1797m)
- Beiträge: 2132
- Registriert: 17.04.2011 - 21:17
- Skitage 25/26: 0
- Ski: ja
- Snowboard: ja
- Hat sich bedankt: 0
- Danksagung erhalten: 349 Mal
Re: Seilbahnunglück Mottarone - Italien (Piemont) 23.05.21
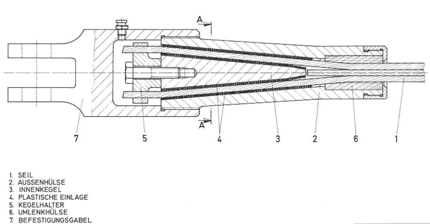
Das komplette Paket (Bauteile 1-6) werden über ein Außengewinde in das Teil 7, welches ja am Laufwerk befestigt ist, eingeschraubt. Dieses Gewinde hält dann letztendlich die gesamte Zugkraft, die das Zugseil ausübt, aus und überträgt es auf das Laufwerk.schneesucher hat geschrieben: 27.05.2021 - 18:13 Vielen Dank, interessant. Wie wird dafür gesorgt, dass das innere Teil(5) nicht aus dem äusseren (7) herausrutscht? Schrauben?
Funktionsweise ist wie folgt:
Die einzelnen Litzen des Seiles (1) werden durch die Keilwirkung zwischen der Außenhülle (2) und dem Innenkegel (3) gehalten. Dies geschieht selbsthemmend. Damit die Seile die zulässige Flächenpressung nicht überschreiten wird im Inneren ein elastisch deformierbares Material (4) aufgetragen, welche sich entsprechend den einzelnen Litzen anpasst. Der Halter (5) dient dazu, dass die Klemmung auch im Falle einer fehlenden Spannung am Seil unter Vorspannung steht und sofort anzieht, sobald eine Zugbelastung am Seil anliegt. Im vorderen Bereich sind dann noch Dämpfer (6) untergebracht, welche dafür sorgen, dass evtl. Seilschwingungen nicht auf den Klemmbereich übertragen werden. Über die oben sichtbare Schraube kann der komplette Hohlraum mit Korrosionsschutzmittel gefüllt werden.
Hier sieht man gut das Gewinde der Hülse (Teil 2):
http://www.tuefer.ch/download/galeriebi ... 0604.1.jpg
Edit: Fehlerhafte Nummerierung korrigiert.
Zuletzt geändert von Drahtseil am 27.05.2021 - 22:26, insgesamt 2-mal geändert.
"Ein Leben ohne Alpinforum ist möglich, aber sinnlos"
-
Lagorce
- Rigi-Kulm (1797m)
- Beiträge: 1886
- Registriert: 20.12.2006 - 09:16
- Skitage 25/26: 0
- Hat sich bedankt: 5 Mal
- Danksagung erhalten: 266 Mal
Re: Seilbahnunglück Mottarone - Italien (Piemont) 23.05.21
Danke für deine Bemühung, hier sieht man dass effektive Unterschiede vorhanden sein sollten. Leider habe ich keine Infos über solche Seilköpfe.
Der von Liftler1976 gepostet Seilkopf entspricht nicht der hier besprochenen Ausführung, ausser bei von Schweizer Firmen gebauten Seilbahnen werden die ETH Seilköpfe im Ausland AFAIK selten verwendet-
Davon gibt es verschiedene Ausführungen sowie Grössen, z.B. isoliert oder nicht isoliert, mit oder ohne tragendem Gewinde, usw.
Das Prinzip ist so genial, dass es IIRC bis aus die Wicklungsrichtung bzgl. Schlagrichtung seit langem unverändert ist. Weniger genial ist ggf. allerdings das Entfernen des alten grünen Fetts. Hab glaub noch nie sowas ecklig klebriges gesehen (jedoch Ferttabahängig).
Das Konfektionieren scheint täuschend einfach, erfordert jedoch viel Geschick und eine grosse Erfahrung und ist zudem körperlich anstrengend.
@Stahlseil:
Nochmals besten Dank für die Infos über die Bahn (siehe Link irgendwo weiter oben). Konnte leider sonst nirgends technische Infos über diese Bahn finden. Merkwürdig, dass niemand vorort was findet (z.B. öffentliche sowie amtliche Archive).
Bild von Stahlseil (wurde glaub weiter oben gepostet).
Wäre interessant zu sehen, wie die Schrauben des axialen Blockierung gesichert sind, dies muss absolut zuverlässig sein, sonst lösen sich beide Seilköpfe von der Laufwerksachse. Siehe Vaujany (https://en.wikipedia.org/wiki/Vaujany), wobei es dort die axiale Sicherung des Gehängetragrohrs betraf.
IMO sollte eine formschlüssige Sicherung (z.B. zurückgebogenes Sicherungsblech oder Drähte wie im Flugzeugbau üblich, jedoch keine Nyloc Muttern und nicht einmal Nord-Lock Scheiben).
Der von Liftler1976 gepostet Seilkopf entspricht nicht der hier besprochenen Ausführung, ausser bei von Schweizer Firmen gebauten Seilbahnen werden die ETH Seilköpfe im Ausland AFAIK selten verwendet-
Davon gibt es verschiedene Ausführungen sowie Grössen, z.B. isoliert oder nicht isoliert, mit oder ohne tragendem Gewinde, usw.
Das Prinzip ist so genial, dass es IIRC bis aus die Wicklungsrichtung bzgl. Schlagrichtung seit langem unverändert ist. Weniger genial ist ggf. allerdings das Entfernen des alten grünen Fetts. Hab glaub noch nie sowas ecklig klebriges gesehen (jedoch Ferttabahängig).
Das Konfektionieren scheint täuschend einfach, erfordert jedoch viel Geschick und eine grosse Erfahrung und ist zudem körperlich anstrengend.
@Stahlseil:
Nochmals besten Dank für die Infos über die Bahn (siehe Link irgendwo weiter oben). Konnte leider sonst nirgends technische Infos über diese Bahn finden. Merkwürdig, dass niemand vorort was findet (z.B. öffentliche sowie amtliche Archive).
Bild von Stahlseil (wurde glaub weiter oben gepostet).
Wäre interessant zu sehen, wie die Schrauben des axialen Blockierung gesichert sind, dies muss absolut zuverlässig sein, sonst lösen sich beide Seilköpfe von der Laufwerksachse. Siehe Vaujany (https://en.wikipedia.org/wiki/Vaujany), wobei es dort die axiale Sicherung des Gehängetragrohrs betraf.
IMO sollte eine formschlüssige Sicherung (z.B. zurückgebogenes Sicherungsblech oder Drähte wie im Flugzeugbau üblich, jedoch keine Nyloc Muttern und nicht einmal Nord-Lock Scheiben).
-
Philipp2
- Vogelsberg (520m)
- Beiträge: 630
- Registriert: 03.08.2012 - 14:48
- Skitage 25/26: 0
- Ski: ja
- Snowboard: nein
- Hat sich bedankt: 65 Mal
- Danksagung erhalten: 222 Mal
Re: Seilbahnunglück Mottarone - Italien (Piemont) 23.05.21
Ich muss die Bezeichnung 'Experte' strikt zurückweisen, von Pendelbahnen hab ich nicht gerade viel Ahnung, ich beschäftige mich rechnerisch hauptsächlich mit SchleppliftenThomasK hat geschrieben: 27.05.2021 - 11:53 [...] Davon lebt das Alpinforum, dass hier viele Seilbahnspezialisten registriert sind. Dein Beitrag ist extrem zu begrüssen. Dass die Restzugkraft des Gegenseils dermaßen viel Einfluss hat, habe ich in der Tat deutlich unterschätzt. [...]
Was die Journalisten anbetrifft, muss ich sagen, dass das Qualitätsniveau in vielen Bereichen der Presse ganz erheblich abgesunken ist. [...]
Und ja, vor etwa 10 bis 15 Jahren konnte man Zeitungen noch als Wörterbuch verwenden (Rechtschreibung etc.), heute ist das selbst im ORF undenkbar.
In Österreich jedenfalls überwiegt eine gefährliche Selbstsicherheit: https://www.krone.at/2423906
Etwas derartiges zu behaupten... ist mutig, ehrlichgesagt. Angesichts der etlichen standardmäßig im Schloss steckenden Überbrückungsschlüssel.Krone.at hat geschrieben:Das schwere Seilbahnunglück am Lago Maggiore mit 14 Toten beschäftigt auch die heimische Seilbahnwirtschaft. Den Riss eines Zugseils ohne äußere Einwirkung schloss Christian Felder, Vorsitzender des Technikerkomitees beim Fachverband Seilbahnen, am Donnerstag am Rande eines Pressegesprächs in Salzburg de facto aus. Auch die absichtliche Abschaltung eines Sicherheitssystems könne in Österreich nicht passieren, sagte er. Man warte nun die Ergebnisse der Untersuchungen in Italien ab.
"Drahtseilbremse"... schön auch die zusammenkopierte Grafik. Kann das irgendwer bestätigen oder ist das jounalistische Fehlinterpretation?Krone.at hat geschrieben:Funktion der Drahtseilbremse wird in Österreich täglich kontrolliert - Zur Deaktivierung der Drahtseilbremse komme es in Österreich nur im Zuge von Wartungs- und Revisionsarbeiten. „Dass es im täglichen Betrieb dazu kommt, ist auszuschließen. Dafür sorgt alleine schon das tägliche Prüfprozedere vor Aufnahme des Betriebs.“ Dabei müsse etwa der ordnungsgemäße Zustand der Drahtseilbremse in einem Prüfbuch dokumentiert und mit der eigenen Unterschrift bezeugt werden.
Es gibt auch hierzulande einige schwarze Schafe unter den Seilbahnbediensteten mit einer "Sichan is fia Oaschlecha!"-Arbeitseinstellung, "Wenns so schlimm wär, hättens uns schon längst zuadraht!"
Ohne mich mit dem Thema Zugseilschwingungen jemals genauer befasst zu haben, schätze ich einfach mal, dass aufgrund der weichen Seilaufnahme und der insgesamt gelenkig gelagerte Zugseilkupplung die Biegewechselbeanspruchung des Zugseiles sehr klein ist. Vermutlich sogar so klein, dass sie von den Zugspannungen überlagert wird und eher einer Schwellbeanspruchung gleicht, die noch im beherrschbaren Rahmen liegt (Hat da jemand genauere theoretische Rechenansätze? Bitte gerne privat zusenden.) und deren Auswirkungen durch entsprechende Prüfintervalle gut zu beobachten sind. Bei eventueller Versprödung des Werkstoffes ist davon auszugehen, dass einzelne Drähte brechen und der Schaden bei der magnetinduktiven Prüfung bemerkt und behoben wird, dass gleich ein ganzes Seil nachgibt ist seeeeeehr unwahrscheinlich. Aber es gibt auch etliche Phänomene in den Werkstoffwissenschaften, die noch zu klären sind.schneesucher hat geschrieben: 27.05.2021 - 17:08 [...]Ich glaube nicht, dass Zugseilschwingungen harmlos sind. Was tut man, um einen Draht von Hand zu trennen? Man biegt ihn einfach mehrmals hin und her bis er bricht. Deshalb halte ich die hier geäusserte Theorie, dass das Seil an der Knickstelle (aus-)gerissen sei, für die derzeit wahrscheinlichste Theorie.Das Aiguille du Midi Beispiel überzeugt mich hier nicht, da nicht klar ist, wie häufig das Phänomen auftritt (ich würde vermuten man wird die Bahn bei vorhersehbarem Sturm schliessen) und welche Massnahmen dagegen unternommen werden (z. B häufigerer Wechsel des Zugseiles).ttramp hat geschrieben: 26.05.2021 - 22:40 Nachdem ich hier im Forum häufig Beiträge mitlese, bin ich nun auf eine mögliche Ursache für den Seilriss gekommen.
Das Zugseil ist teilweise starken Schwingungen ausgesetzt (wie in den Videos ersichtlich, z.B. vor dem Überfahren an Stützen). Diese Schwingungen sind Vergleichbar mit Hammerschlägen an den Tragrollen auf das Seil. Diese Hammerschläge führen zur Martensitbildung und irgendwann zu einem Sprödbruch. Martensit auf Drähten ist nur schwer zu erkennen (Schliffbild mit Ätzen). Dies würde auch erklären, warum das Seil im näheren Bereich der Gondel gerissen ist.
Im Übrigen halte ich die Aussage, ein Zugseil könne nicht brechen, wie hier vom Experten "Einen Zugseilriss gibt es für mich gar nicht" für problematisch. Das tönt für mich wie nach der "unsinkbaren Titanic". Erstaunlich angesichts seiner Position. Es gibt so unglaublich viele Möglichkeiten, dass ein Seil doch zerstört werden kann. Siehe Mürren, wo angeblich ein chemischer Prozess für den Teilriss verantwortlich war.
Gibt es zu selbsthemmenden Seilköpfen Forschungsarbeiten/Untersuchungen über die Auswirkung von schlagartigen Belastungen, so wie sie beim Einfallen der Tragseilbremse während der Fahrt eintreten? - Nicht aus Spekulation, rein aus technischem Interesse, da mich interessiert wie eventueller Schlupf durch ungleiche Dehnung Seil/Klemmkopf verhindert wird.
Und ich schieße gleich noch eine Frage nach: Ist so ein Klemmkopf in der Gesamtbetrachtung wirtschaftlicher als federbelastete Klemmen? (@Drahtseil, @Lagorce)
Zuletzt geändert von Philipp2 am 27.05.2021 - 19:57, insgesamt 1-mal geändert.
Für die Richtigkeit der in diesem Beitrag enthaltenen Informationen wird nicht garantiert. Zitieren auf eigene Gefahr.
-
Lagorce
- Rigi-Kulm (1797m)
- Beiträge: 1886
- Registriert: 20.12.2006 - 09:16
- Skitage 25/26: 0
- Hat sich bedankt: 5 Mal
- Danksagung erhalten: 266 Mal
Re: Seilbahnunglück Mottarone - Italien (Piemont) 23.05.21
Irgendwie ein merkwürdiges Design. Sehe nicht einmal wie man die Vorspannung der Schlaffseilauslösung einstellt. Hoffe nur, dass nicht hydraulisch vorgespannt wird, dass wäre eine höchst blödsinnige Idee!
Allerdings erwähnte jemand, dass im Rahmen der Wartung Leitner die Druckspeicher [mit N2] für die Fangbremsen ladete, vermutlich war das Nachfüllen auf den korrekten Ladedruck gemeint. Druckspeicher halten den Öffnungsdruck der Bremszangen aufrecht, damit die elektrische Pumpe nicht allzuoft einschaltet.
Die Hydraulikschläuche sowie die Kabel wurden nicht mustergültig verlegt, da kann sich schnell was drin Verfangen oder man stolpert deswegen. Oder dann wird mal was abgerissen.
Den Sinn der Fühler, die die Ventile zwangsbetätigen kann ich immer noch nicht nachvollziehen (siehe weiter oben).
Allerdings erwähnte jemand, dass im Rahmen der Wartung Leitner die Druckspeicher [mit N2] für die Fangbremsen ladete, vermutlich war das Nachfüllen auf den korrekten Ladedruck gemeint. Druckspeicher halten den Öffnungsdruck der Bremszangen aufrecht, damit die elektrische Pumpe nicht allzuoft einschaltet.
Die Hydraulikschläuche sowie die Kabel wurden nicht mustergültig verlegt, da kann sich schnell was drin Verfangen oder man stolpert deswegen. Oder dann wird mal was abgerissen.
Den Sinn der Fühler, die die Ventile zwangsbetätigen kann ich immer noch nicht nachvollziehen (siehe weiter oben).
-
Woodpecker
- Massada (5m)
- Beiträge: 13
- Registriert: 17.06.2011 - 17:04
- Skitage 25/26: 0
- Ski: ja
- Snowboard: nein
- Hat sich bedankt: 0
- Danksagung erhalten: 0
Re: Seilbahnunglück Mottarone - Italien (Piemont) 23.05.21
Mal eine Frage,
warum nutzt man nicht bei den Zugseilen einen Augspleiß ? Damit wäre doch die Problematik der Zugseilkupplungen umgangen ?
warum nutzt man nicht bei den Zugseilen einen Augspleiß ? Damit wäre doch die Problematik der Zugseilkupplungen umgangen ?
- Zottel
- Punta Indren (3250m)
- Beiträge: 3333
- Registriert: 13.03.2006 - 16:52
- Skitage 25/26: 0
- Ski: ja
- Snowboard: nein
- Ort: Bochum
- Hat sich bedankt: 1643 Mal
- Danksagung erhalten: 845 Mal
Re: Seilbahnunglück Mottarone - Italien (Piemont) 23.05.21
Ergänzend dazu diese Projektbeschreibung der Bauarbeiten 2014-2016, die ich im August 2016 an der Talstation der damals noch geschlossenen 1. Sektion der PB gemacht habe (anklicken zum Vergrößern):Latesn hat geschrieben: 26.05.2021 - 21:59 Sio und noch ein Artikel aus LaStampa 2016 zur Renovierung
Übersetzung wiederum ohne Gewähr: (Anmerkungen in Klammern)A occuparsi dei lavori sarà la Leitner spa, che in società con la «Ferrovie del Mottarone» guidata da Gigi Nerini, si è aggiudicata la gara per l’ammodernamento dell’impianto e la gestione fino al 2029.
Le opere, di cui è responsabile per l’impresa l’ingegnere Enrico Perocchio della Leitner (mentre la direzione è stata affidata all’ingegnere Vincenzo Barbera), prevedono la sostituzione di tutte le apparecchiature elettriche con sistemi più avanzati, il rifacimento delle quattro cabine, la sostituzione dei trasformatori di alimentazione con un sistema ridondante, che permetterà l’esercizio anche in caso di guasto. [...]
Tra i primi interventi ci sarà l’effettuazione delle magnetoscopie, una sorta di radiografia alle funi per verificarne l’integrità. Il sistema delle funi, già sostituito in una precedente revisione generale, ha la scadenza al 2029. [...]
«Auspico che la società di gestione voglia riassumere il personale della vecchia gestione» ha aggiunto Bottini. I lavori hanno un costo complessivo di 4,4 milioni di euro: finanziati con 1,56 milioni dalla Regione e 1,86 dal Comune di Stresa, che erogherà i fondi in rate annuali prelevando dalla tassa di soggiorno. La società Funivie del Mottarone, costituita da Leitner e da Ferrovie del Mottarone, contribuirà con 1 milione di euro e anticiperà le quote del Comune poi rimborsate in rate annuali.
Die Firma Leitner Spa, die in einer Bietergemeinschaft mit der von Gigi Nerini (Geschäftsführer - Seit gestern in Haft) geleiteten Ferrovie del Mottarone
die Ausschreibung für die Erneuerung der Anlage und deren Betrieb bis 2029 gewonnen hat, wird die Renovationsarbeiten ausführen.
Die Arbeiten, für die der Leitner-Ingenieur Enrico Perrochio (Anmerkung: Verantwortlicher Techniker - Seit gestern in Haft)
die Verantwortung trägt (während die Organisation in der Verantwortung von Ingenieur Vincenzo Barbera liegt) umfassen die Erneuerung
der elektrischen Steuerung, die Revision der vier Kabinen und den Einbau einer redundanten Stromversorgung.
[... Aufzählung weiterer Arbeiten]
Zu den ersten Arbeiten zählt die magnetinduktive Prüfung der Seile, um deren Zustand zu überprüfen.
Das Seil ist bis 2029 kollaudiert
[...]
"Ich hoffe, dass die neue Betriebsgesellschaft die Angestellten des bisherigen Betreibers übernehmen wird" so Bürgermeister Bottini.
Die Gesamtkosten von 4,4 Millionen Euro werden großteils von der Region Piemont (1,56 Millionen Euro), sowie der Gemeinde Stresa (1,86 Millionen Euro)
getragen, wobei diese Kosten in Raten durch Entnahmen aus den Einnahmen durch die Kurtaxe abgezahlt werden.
Das von Leitner und den Ferrovie del Mottarone gegründete Kooperationsunternehmen Funivie del Mottarone wird 1 Million Euro übernehmen und
der Region und der Gemeinde den restlichen Betrag vorschiessen, bis die Raten bezahlt sind.
Zottel Exclusives: Schanzen-ESL Ramsau am Dachstein (2024)
Schanzen-ESL Stams (2017)
ÖBB-Seilbahn Stubach, Enzingerboden (2018)
ESL Untere Schlegelalm (2018)
Schanzen-ESL Stams (2017)
ÖBB-Seilbahn Stubach, Enzingerboden (2018)
ESL Untere Schlegelalm (2018)
↓ Mehr anzeigen... ↓
- icedtea
- Jungfrau (4161m)
- Beiträge: 4441
- Registriert: 23.10.2018 - 13:40
- Skitage 25/26: 0
- Ski: ja
- Snowboard: nein
- Ort: Rhein-Main-Tiefebene
- Hat sich bedankt: 5875 Mal
- Danksagung erhalten: 1987 Mal
Re: Seilbahnunglück Mottarone - Italien (Piemont) 23.05.21
Nach einem sehr lehrreichen Telefonat mit einem Mitforisten und anschließendem betrachten der Schnittzeichnung eines Seilkopfs; wäre es nicht passender von einem Seilausriss an der Befestigung an der Gondel als von einem "klassischen" Seilriss zu sprechen? Die Schwachstelle könnte ja dann nicht per se das Seil, sondern dessen Befestigung gewesen sein 
?
Wo ich schon war:
Hochzeiger (1989), Ski-Zillertal 3000 außer Gletscher (viele Jahre ab 1993
), Kronplatz (2006), Söllereck (2008), Hauser Kaibling (2009 und 2014), Wildkogel (2010 - 2012), Maiskogel, Pass Thurn/Resterhöhe; Schmittenhöhe (2013), Hochzillertal/Hochfügen, Spieljoch (2016 - 2019), Alpendorf/Wagrain/Flachau (2015 und 2018), Damüls/Mellau (2017), Planai/Hochwurzen (2019), Willingen (2019), Schnalstaler Gletscher (2019), Laax, Silvretta-Montafon, Brandnertal, Golm (2020), Hundseck (2021), Winterberg (2021), Arosa-Lenzerheide (2022), St. Moritz (2022), Ortisei, Seiser Alm und Sella Ronda (2023)
Als nächstes:
Hochzeiger (1989), Ski-Zillertal 3000 außer Gletscher (viele Jahre ab 1993
Als nächstes:
↓ Mehr anzeigen... ↓