Verkehrshaus Luzern (incl. Bilder)

Fachforum für Seilbahntechnik: Technische Diskussionen zu Kuppelsystemen, Steuerungen, Seilrechnung und Innovationen im Seilbahnbau.
Forumsregeln
Bitte beachte unsere Forum Netiquette
Benutzeravatar
Jojo
Eiger (3970m)
Beiträge: 4159
Registriert: 18.09.2002 - 17:47
Skitage 25/26: 0
Ski: ja
Snowboard: nein
Ort: Rödermark
Hat sich bedankt: 217 Mal
Danksagung erhalten: 981 Mal
Kontaktdaten:

Verkehrshaus Luzern (incl. Bilder)

Beitrag von Jojo »

Im Sommer 2006 war ich eine Woczhe in Luzern. Dort besuchte ich unter anderem das "Verkehrshaus Luzern" mit der größten Seilbahnausstellung der Welt...
Leider sind ein paar Bilder von meinem Aufenthalt verloren gegangen. Aber die restlichen möchte ich Euch natürlich nicht vorenthalten.
Zum Verkehrshaus selbst. Ich fande es wirklich toll dort, besonders den Seilbahnbereich. :lol: Das IMax war eher enttäuschend, dort muss man nicht unbedingt reingehen.
Viel Spaß mit den Bildern:

Zum SCHL "Davos-Bolgen":
Es war der erste Bügel-Skilift der Welt, Baujahr 1934. Hersteller war E.Constam (Zürich), Eröffnung war am 26.12.1934, der Lift lief 37 Jahre lang. Antrieb war in der Talstation, die Spannvorrichtung des endlosen Förderseils war in der Bergstation
Der Skilift war 300m lang und überwand 60 Höhenmeter. Er hatte 4 Stützen und 19 Bügel, bei einer Fahrgeschwindigkeit von 2,2m/s. Die Föderleistung lag somit bei 350Pers./h.
Dateianhänge
SCHL Davos-Bolgen-erster Bügel-Skilift der Welt.
SCHL Davos-Bolgen-erster Bügel-Skilift der Welt.
Zuletzt geändert von Jojo am 23.11.2006 - 22:57, insgesamt 1-mal geändert.
Der Bundesgesundheitsminister warnt:
Der vorangegangene Beitrag kann Spuren von Ironie, Zynismus und Sarkasmus enthalten. Sollten sie mit einer dieser Substanzen
in Konflikt geraten oder einfach nicht in der Lage sein, diese zu erkennen, so konsultieren Sie Ihren Arzt oder Apotheker.
↓ Mehr anzeigen... ↓

Benutzeravatar
Jojo
Eiger (3970m)
Beiträge: 4159
Registriert: 18.09.2002 - 17:47
Skitage 25/26: 0
Ski: ja
Snowboard: nein
Ort: Rödermark
Hat sich bedankt: 217 Mal
Danksagung erhalten: 981 Mal
Kontaktdaten:

Beitrag von Jojo »

Zur 4ZUB Kriens-Krienseregg-Fräkmüntegg:
Das Bild zeigt die Kabine einer der ersten Zweiseil-Umlaufgondelbahnen, Baujahr 1954, Eröffnung war der 24.12.1954.
Hersteller war die Bell Maschinenfabrik AG in Kriens.
1969 wurde dann eine Stationsautomatik für die einfahrenden Gondeln, neue Antriebe sowie neue Sicherheits- und Fernmeldeeinrichtungen eingebau mit stufenlos regulierbarerer Geschwindigkeit: Somit konnte auch die Förderleistung erhöht werden (neu: 500Pers/h).
Es kam immer wieder zu weiteren Ausbauten...
Die Länge der Gondelbahn betrug fasst 5km, bei 900 Hm und 24 Stützen.
130 Gondeln á 4 Plätze mit einer Fahrgeschwindigkeit von 3,5m/s sorgten schließlich für eine Förderleistung von 550Pers./h.
Dateianhänge
4ZUB "Kriens-Krienseregg-Fräkmüntegg"
4ZUB "Kriens-Krienseregg-Fräkmüntegg"
Der Bundesgesundheitsminister warnt:
Der vorangegangene Beitrag kann Spuren von Ironie, Zynismus und Sarkasmus enthalten. Sollten sie mit einer dieser Substanzen
in Konflikt geraten oder einfach nicht in der Lage sein, diese zu erkennen, so konsultieren Sie Ihren Arzt oder Apotheker.
↓ Mehr anzeigen... ↓
Benutzeravatar
Jojo
Eiger (3970m)
Beiträge: 4159
Registriert: 18.09.2002 - 17:47
Skitage 25/26: 0
Ski: ja
Snowboard: nein
Ort: Rödermark
Hat sich bedankt: 217 Mal
Danksagung erhalten: 981 Mal
Kontaktdaten:

Beitrag von Jojo »

Zur 60er-Pendelluftseilbahn "Spielboden-Längfluh":
Diese moderne Pendelbahn mit 18rolligem Zweiseillaufwerk wurde 1977 eröffnet.
Auf 938m Länge überwindet die Bahn 410 Höhenmeter mit 2 Stützen.
Die Kabinen fassen 60 Personen und leisten ein möglichst günstiges Windverhalten, bei trotzdem grossen Fenstern.
Die Fahrgeschwindigkeit beträgt maximal 10m/s und die Förderleistung liegt bei 1000Pers./h..
Für die Sicherheit sorgt eine Gegensprechanlage, eine Fangbremse und eine Lastmesseinrichtung.
Dateianhänge
Laufwerk.
Laufwerk.
Bedienungstableau.
Bedienungstableau.
Kabine der 60PB.
Kabine der 60PB.
Der Bundesgesundheitsminister warnt:
Der vorangegangene Beitrag kann Spuren von Ironie, Zynismus und Sarkasmus enthalten. Sollten sie mit einer dieser Substanzen
in Konflikt geraten oder einfach nicht in der Lage sein, diese zu erkennen, so konsultieren Sie Ihren Arzt oder Apotheker.
↓ Mehr anzeigen... ↓
Benutzeravatar
Jojo
Eiger (3970m)
Beiträge: 4159
Registriert: 18.09.2002 - 17:47
Skitage 25/26: 0
Ski: ja
Snowboard: nein
Ort: Rödermark
Hat sich bedankt: 217 Mal
Danksagung erhalten: 981 Mal
Kontaktdaten:

Beitrag von Jojo »

Drehbare 8EUB "Sattel-Hochstuckli" im Außenbereich des Verkehrshauses:
Es ist die erste drehbare 8er-Einseilumlaufbahn der Welt und wurde 2005 in Sattel eröffnet.
Dateianhänge
Klemme und Stütze der Bahn.
Klemme und Stütze der Bahn.
Man kann auch in die Kabine einsteigen und "eine Runde drehen"...
Man kann auch in die Kabine einsteigen und "eine Runde drehen"...
8DEUB Sattel-Hochstuckli 03.jpg
Zuletzt geändert von Jojo am 23.11.2006 - 14:56, insgesamt 1-mal geändert.
Der Bundesgesundheitsminister warnt:
Der vorangegangene Beitrag kann Spuren von Ironie, Zynismus und Sarkasmus enthalten. Sollten sie mit einer dieser Substanzen
in Konflikt geraten oder einfach nicht in der Lage sein, diese zu erkennen, so konsultieren Sie Ihren Arzt oder Apotheker.
↓ Mehr anzeigen... ↓
Benutzeravatar
Jojo
Eiger (3970m)
Beiträge: 4159
Registriert: 18.09.2002 - 17:47
Skitage 25/26: 0
Ski: ja
Snowboard: nein
Ort: Rödermark
Hat sich bedankt: 217 Mal
Danksagung erhalten: 981 Mal
Kontaktdaten:

Beitrag von Jojo »

Zweiseil-Doppelsessellift:
Dateianhänge
Und die Klemme der Bahn.
Und die Klemme der Bahn.
Kurve mit Rollen.
Kurve mit Rollen.
Zwei-Seil-DSB.
Zwei-Seil-DSB.
Der Bundesgesundheitsminister warnt:
Der vorangegangene Beitrag kann Spuren von Ironie, Zynismus und Sarkasmus enthalten. Sollten sie mit einer dieser Substanzen
in Konflikt geraten oder einfach nicht in der Lage sein, diese zu erkennen, so konsultieren Sie Ihren Arzt oder Apotheker.
↓ Mehr anzeigen... ↓
Benutzeravatar
Jojo
Eiger (3970m)
Beiträge: 4159
Registriert: 18.09.2002 - 17:47
Skitage 25/26: 0
Ski: ja
Snowboard: nein
Ort: Rödermark
Hat sich bedankt: 217 Mal
Danksagung erhalten: 981 Mal
Kontaktdaten:

Beitrag von Jojo »

Einzelne Fotos:
Dateianhänge
Leitwolf.
Leitwolf.
Leitwolf mit Pipemonster im Aussenbereich.
Leitwolf mit Pipemonster im Aussenbereich.
Kabine einer Gondelbahn, angeschrieben mit "Männlichenbahn Grindelwald", fragt mich nicht warum...
Kabine einer Gondelbahn, angeschrieben mit "Männlichenbahn Grindelwald", fragt mich nicht warum...
Kuppelbare Doppelsesselbahn "Wildhaus" mit schr�gen Sesseln.
Kuppelbare Doppelsesselbahn "Wildhaus" mit schr�gen Sesseln.
Der Bundesgesundheitsminister warnt:
Der vorangegangene Beitrag kann Spuren von Ironie, Zynismus und Sarkasmus enthalten. Sollten sie mit einer dieser Substanzen
in Konflikt geraten oder einfach nicht in der Lage sein, diese zu erkennen, so konsultieren Sie Ihren Arzt oder Apotheker.
↓ Mehr anzeigen... ↓
Benutzeravatar
Jojo
Eiger (3970m)
Beiträge: 4159
Registriert: 18.09.2002 - 17:47
Skitage 25/26: 0
Ski: ja
Snowboard: nein
Ort: Rödermark
Hat sich bedankt: 217 Mal
Danksagung erhalten: 981 Mal
Kontaktdaten:

Beitrag von Jojo »

Und zu guter Letzt noch ein paar Klemmen:
Dateianhänge
WSO-Klemme.
WSO-Klemme.
Garaventa-Totpunktklemme AK 4.1
Garaventa-Totpunktklemme AK 4.1
Garaventa-Federklemme: AK 460
Garaventa-Federklemme: AK 460
Doppelmayr (VonRoll) Klemme: VR103 ?
Doppelmayr (VonRoll) Klemme: VR103 ?
Zuletzt geändert von Jojo am 25.11.2006 - 11:39, insgesamt 2-mal geändert.
Der Bundesgesundheitsminister warnt:
Der vorangegangene Beitrag kann Spuren von Ironie, Zynismus und Sarkasmus enthalten. Sollten sie mit einer dieser Substanzen
in Konflikt geraten oder einfach nicht in der Lage sein, diese zu erkennen, so konsultieren Sie Ihren Arzt oder Apotheker.
↓ Mehr anzeigen... ↓
Benutzeravatar
Pilatus
Disteghil Sar (7885m)
Beiträge: 7956
Registriert: 30.11.2005 - 19:16
Skitage 25/26: 0
Ski: ja
Snowboard: nein
Hat sich bedankt: 494 Mal
Danksagung erhalten: 699 Mal

Beitrag von Pilatus »

Danke für die Bilder... :)
Ganz sicher nicht von Doppelmayr... :!: :!: :!:

Das ist glaub ich eine Von Roll Klemme (VR103 glaub ich). Die hat DM höchstens nachgebaut.

Schliesslich ist das das Verkehrshaus der Schweiz :wink:

Die Bicable Sesselbahn find ich toll. Die ist mir noch gar nie aufgefallen :(

Aber Küpfer hat da was gespendet, dass sie vermutlich gar nie gebaut haben. Ist das "Modell" Funktionstüchtig?
Benutzeravatar
Chasseral
Moderator a.D.
Beiträge: 5061
Registriert: 08.11.2003 - 23:40
Skitage 25/26: 0
Ski: nein
Snowboard: nein
Hat sich bedankt: 0
Danksagung erhalten: 54 Mal

Beitrag von Chasseral »

Pilatus hat geschrieben:Ganz sicher nicht von Doppelmayr... :!: :!: :!:

Das ist glaub ich eine Von Roll Klemme (VR103 glaub ich). Die hat DM höchstens nachgebaut.
Ja! Diese Klemme hat Doppelmayr für ihre kuppelbaren Bahnen verwendet, bis sie die Klemme mit frei schwenkbarer Klemmbacke (1982 glaube ich) eingeführt haben. Nach meinen Informationen hat Doppelmayr damals sogar die Planung der Seilbahntechnik für ihre kuppelbaren Bahnen vom Planungsbüro von Von Roll in Bern durchführen lassen. Doppelmayr war damals bei kuppelbaren Bahnen noch sehr stark auf fremde Hilfe angewiesen.

So ist die Hahnenköpflebahn am Ifen wohl ein Gemeinschaftsprodukt Doppelmayr / Von Roll / Steurer.
Winter 2012/13: 22 Skitage
6x Andorra, 1x Spanien, 12x Deutschland, 3x Österreich

Benutzeravatar
Christoph Lütz
Wurmberg (971m)
Beiträge: 1128
Registriert: 19.12.2005 - 10:30
Skitage 25/26: 0
Ski: ja
Snowboard: nein
Hat sich bedankt: 6 Mal
Danksagung erhalten: 76 Mal

PB-Kabine der Längfluhbahn und Gondel der Männlichenbahn

Beitrag von Christoph Lütz »

Da passt so einiges nicht zusammen, was da als Exponat im Verkehrshaus steht. 8O Die ausgestellte PB-Kabine der "Längfluhbahn" (CWA nova) ist nach ihrer Form und Fensteraufteilung höchstens eine 45-Kabine, wie am Mont Fort oder kleiner. Außerdem, wofür ein nichtdruckübertragendes Gehänge (Garaventa) und ein Laufwerk mit Bremswagen (VonRoll). Beides gleichzeitig ist schwachsinn und wurde so sicher nirgendwo gebaut. Aber man wollte vermutlich alle genialen Konstruktionen auf begrenzter Fläche zeigen, die in der Schweiz im Seilbahnwesen konstruiert wurden. :D

Die "Männlichenbahn" ist vermutlich der in rot umlackierte De Georgi-Prototyp "VISO 6", der nie verkauft wurde zusammen mit einer Giovanola-Klemme. Die Kabine findet man auch in der Weltseilbahngeschichte II von HDS auf Seite 167. Oder habe ich mich da getäuscht?

Aber trotzdem eine tolle Ausstellung und tolle Bilder! :wink:
Benutzeravatar
silu
Großer Müggelberg (115m)
Beiträge: 166
Registriert: 18.02.2004 - 20:46
Skitage 25/26: 0
Ski: nein
Snowboard: nein
Ort: Lyss BE, CH
Hat sich bedankt: 0
Danksagung erhalten: 0

Beitrag von silu »

Ich möchte eine Frage in den Raum stellen zur abgebildeten VonRoll Klemme: Meiner Meinung nach ist die VR103 NICHT die Klemme, welche DM eine Zeit lang verwendete. Die VR103 verbaute VR meines Wissens zum ersten Mal anfangs der 80er Jahre bei den ersten eigenen KSBsen (nach dem Einzelstück La Siala mit einer Habeggerklemme). Während dieser Zeit sollte DM bereits (nach den Aussagen weiter oben) den Creisseltyp mit der freischwenkbaren Klemmbacke verbaut haben. DM verbaute so nach mir in den Anfängen nicht VR103-Klemmen, sondern VR102-Klemmen. Bin ich im Recht oder mache ich einen Überlegungsfehler?
Benutzeravatar
Christoph Lütz
Wurmberg (971m)
Beiträge: 1128
Registriert: 19.12.2005 - 10:30
Skitage 25/26: 0
Ski: ja
Snowboard: nein
Hat sich bedankt: 6 Mal
Danksagung erhalten: 76 Mal

Beitrag von Christoph Lütz »

Meiner Meinung handelt es sich um die einfache Variante der VH400, die Von Roll Ende der 80er/ Anfang der 90er-Jahre bei diversen 6er-EUB (z.B. Schifer-Parsenn, Adelboden-Silleren, Celerina-Marguns, Grindelwald-First) als Doppelklemme eingesetzt hat. Die Einfachklemme wurde zum Beispiel am Horneggli (3KSB mit Haube) eingesetzt. Die Bezeichnung VH400 kommt vermutlich von Von Roll-Habegger. Die Klemme war eine Neukonstruktion nach der Fusion dieser beiden Seilbahnbauer. 1/3 der Klemmkraft wird durch das Fahrzeuggewicht erzeugt, 2/3 über Federkraft. Damit wurde teilweise die Philosophie der Giovanola(-Habegger)-Klemme übernommen. Heute bevorzugt man ja bekanntlich ausschließlich die Federkraft, da dies schonender für das Förderseil ist.

Mit Doppelmayr hat das aber nichts zu tun, die Zusammenarbeit bezüglich Klemmen war 1973 bei der 4er-EUB in Mellau, also viel früher mit einem älteren Modell (Gewichtsklemme). Von Roll wurde aber bekanntlich Mitte der 90er-Jahre von Doppelmayr übernommen, daher gibt es hier eventuell etwas Verwirrung.
Michael Meier
Aconcagua (6960m)
Beiträge: 7332
Registriert: 18.06.2002 - 21:50
Skitage 25/26: 0
Ski: nein
Snowboard: nein
Hat sich bedankt: 0
Danksagung erhalten: 10 Mal

Beitrag von Michael Meier »

Eindeutig VH 400 Klemmen. Allerdings das Ältere Modell ohne die beiden Rohre. Es gibt auch das Einzelmodell mit einer Rohrkonstruktion. Dann gibt es noch die VH400 Light welche keine Räder für die Stationspassagen besitzt.
Benutzeravatar
Pilatus
Disteghil Sar (7885m)
Beiträge: 7956
Registriert: 30.11.2005 - 19:16
Skitage 25/26: 0
Ski: ja
Snowboard: nein
Hat sich bedankt: 494 Mal
Danksagung erhalten: 699 Mal

Beitrag von Pilatus »

Und wie bewegt sich diese in der Station fort?
Michael Meier
Aconcagua (6960m)
Beiträge: 7332
Registriert: 18.06.2002 - 21:50
Skitage 25/26: 0
Ski: nein
Snowboard: nein
Hat sich bedankt: 0
Danksagung erhalten: 10 Mal

Beitrag von Michael Meier »

Hier die 3 Typen:
Dateianhänge
P2120053.jpg
P2130236.jpg
P2150030.jpg
Benutzeravatar
Chasseral
Moderator a.D.
Beiträge: 5061
Registriert: 08.11.2003 - 23:40
Skitage 25/26: 0
Ski: nein
Snowboard: nein
Hat sich bedankt: 0
Danksagung erhalten: 54 Mal

Beitrag von Chasseral »

silu hat geschrieben: DM verbaute so nach mir in den Anfängen nicht VR103-Klemmen, sondern VR102-Klemmen. Bin ich im Recht oder mache ich einen Überlegungsfehler?
In den Anfängen hat DM VR102-Klemmen verbaut, aber später definitv auch VR103.

Das auf dem Bild ist eine Doppelmayr-Bahn und das ist doch die VR103, oder liege ich da falsch?

Bild
Winter 2012/13: 22 Skitage
6x Andorra, 1x Spanien, 12x Deutschland, 3x Österreich
Benutzeravatar
Christoph Lütz
Wurmberg (971m)
Beiträge: 1128
Registriert: 19.12.2005 - 10:30
Skitage 25/26: 0
Ski: ja
Snowboard: nein
Hat sich bedankt: 6 Mal
Danksagung erhalten: 76 Mal

Beitrag von Christoph Lütz »

Ich bin kein Klemmenexperte, aber ich war immer der Meinung gewesen, die Klemme, die Von Roll 1973 an Doppelmayr für das Projekt in Mellau verkauft hatte, war eine Gewichtsklemme. Die selbe Klemme war in z. B. Crans-Montana (Cry d´err) im Einsatz.
Die Kabinengehänge waren nur über ein in jeder Richtung bewegliches Gelenk mit der Kabine verbunden. Dadurch war im Innern der Kabine eine Mittelstange erforderlich. Ich kann mich auch erinnern, dass in allen Kabinen der Bahn in Crans-Montana Betonklötze als Balast unter den Sitzen lagen. Also war die Von Roll-Klemme, die zwischen 1968 und ca. 1980 zum Einatz kam, eine Gewichtsklemme, oder liege ich da falsch?

Doppelmayr hat dann für seine weiteren Projekte (z. B. Sölden) später die Vierpunktaufhängung bei seinen EUB eingeführt. Ich vermute, weil die Klemme dann als reine Federklemme mit Kniehebel konzipiert war, obwohl sie der Von Roll-Klemme äußerlich ähnlich sah.
Dateianhänge
Crans_Merbe.jpg

Michael Meier
Aconcagua (6960m)
Beiträge: 7332
Registriert: 18.06.2002 - 21:50
Skitage 25/26: 0
Ski: nein
Snowboard: nein
Hat sich bedankt: 0
Danksagung erhalten: 10 Mal

Beitrag von Michael Meier »

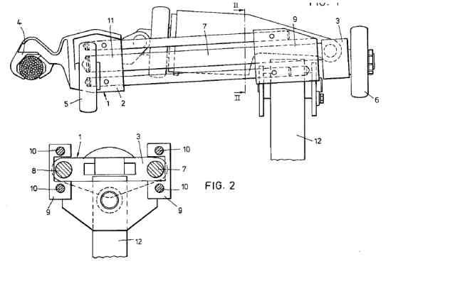
Christoph: Die von dir beschriebene Klemme ist die VR102 welche auch von Doppelmayr bis in die 80er Jahre in Lizens gebaut wurde. Siehe dazu den nächstfolgenden Beschreib. Hier mal ein Paar Zeichnungen von Von Roll und Habegger Klemmen. Nach der legendären VR101 kam die VR 102 lange Jahre zum Einsatz unter anderem kaufte auch Doppelmayr eine Lizens. War eine reine Federklemme mit Kniehebel. Als Giovanola mit Städeli und Habegger die 4m/s Grenze überschritt musste Von Roll Nachziehen und auch mit einer Klemme auftrumpfen die mehr als 3,5m/s fahren kann. Zuerst kam die 103er dann die 104er. Sie waren eigendlich eine Kopie oder abwandlung des Giovanola Systems. Allerdings ohne Laufwagen. Reine Gewichtsklemmen. iehe da diese Klemme bekam die Zulassung für 6m/s Bahnen (Siehe Testbericht. Kann ich per Mail schicken.) Leider war die Klemme sehr anfällig. 2 der 6 Bahnen sind abgestürzt. Eine ist noch in Veyonnaz in Betrieb. Nach der übernahme von Habegger erledigte sich mit dem Giovanola Patent dieses Problem. Es folgten Anlagen wie Trübsee oder Seetalhorn usw. VH 400 kam dann mitte der 80er an War auch eine neuentwicklung und kombination aus dem altbewährten VR102 System und dem VR104 mit der Gewichtskraftübertragung. Die VH400 Light wude genau 5 mal eingesetzt. 4x an einer 4KSB und 3mal an einem kuppelbaren 2er. Eigendlich einfach eine Sparversion der normalen 400er aus gefalzem Blech. Diese Lifte waren für die Damalige Zeit ein novum in punkto Kompaktheit. Entsprechend Wartungsfreundlich sind diese auch. :wink:
Dateianhänge
VH400light.jpg
VH400light.jpg (17.44 KiB) 6920 mal betrachtet
Problemklemme VR104 nur an 3 Bahnen eingesetzt davon steht jetzt noch eine. 2 Davon sind abgesürzt.
Problemklemme VR104 nur an 3 Bahnen eingesetzt davon steht jetzt noch eine. 2 Davon sind abgesürzt.
Die VR 103 Gewichtsklemme. Eine Weiterentwicklung der Giovanola Klemme. Meiner Wissens nie eingesetzt bzw. Durch die 104er ersetzt.
Die VR 103 Gewichtsklemme. Eine Weiterentwicklung der Giovanola Klemme. Meiner Wissens nie eingesetzt bzw. Durch die 104er ersetzt.
Die VH 400 Kombinierte Gewichts Federklemme
Die VH 400 Kombinierte Gewichts Federklemme
Habegger Einseilbahn Klemme. Eingesetzt an der 3KSB La Siala in Flims.
Habegger Einseilbahn Klemme. Eingesetzt an der 3KSB La Siala in Flims.
VR103.jpg (16.76 KiB) 6921 mal betrachtet
Michael Meier
Aconcagua (6960m)
Beiträge: 7332
Registriert: 18.06.2002 - 21:50
Skitage 25/26: 0
Ski: nein
Snowboard: nein
Hat sich bedankt: 0
Danksagung erhalten: 10 Mal

Beitrag von Michael Meier »

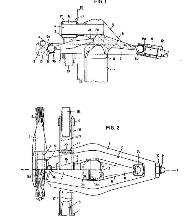
VR102.

Dieses System besitzt eine integrierte Abzugkraftmessung. Die beiden Klemmapperate werden wur dem Kuppelvorgang in Fahrtrichtung auseinander gedrückt. Eine Zugfeder sorgt dafür, dass die Klemmen bei Gebrochener Feder wieder zusamen runtschen und so ein Kniegelenk, welches dafür sorgt das die Klemmen bei der Ausfahrt voneinander weg bewegt werden, wieder nach oben aufsteht und eine Blende berührt worauf die Bahn abstellt. Siehe Bilder:

Bild
Schliessrolle

Bild

Bild

Bild
^^Hier werden die Klemmen auseinander gedrückt und geschlossen.

Bild
Kontrollblende

Bild
^^Die Rolle auf der Klemme in der Mitte wird durch die Schiene rechts nach unten gedrückt.
Benutzeravatar
silu
Großer Müggelberg (115m)
Beiträge: 166
Registriert: 18.02.2004 - 20:46
Skitage 25/26: 0
Ski: nein
Snowboard: nein
Ort: Lyss BE, CH
Hat sich bedankt: 0
Danksagung erhalten: 0

Beitrag von silu »

MM: Du hast geschrieben, dass die VR103 nie eingesetzt wurde bzw. durch die VR104 ersetzt wurde. Das heisst, es gibt gar keine Anlagen mit VR103 Klemmen - somit haben wir die VR-Klemme aus dem VHS Luzern falsch bezeichnet (wäre in dem Fall eine VR105?).

Aber eine allgemeine Frage zur VH400: Stimmen die folgenden Gleichungen?

VH400 = VR105
VH400 light = VR106
Benutzeravatar
Christoph Lütz
Wurmberg (971m)
Beiträge: 1128
Registriert: 19.12.2005 - 10:30
Skitage 25/26: 0
Ski: ja
Snowboard: nein
Hat sich bedankt: 6 Mal
Danksagung erhalten: 76 Mal

Beitrag von Christoph Lütz »

:D Danke für die ausführlichen Erläuterungen. Also wurde in Mellau/A, Crans, Saas Fee und Flims die VR102 verwendet und es handelt sich um die gleiche Klemme, die Doppelmayr bis ca. 1980 in Sölden, Ischgl und Zell am See verwendet hat?

:?: Warum hat Von Roll aber bei der VR102 die blöde Einpunkt-Kabinenaufhängung mit der Mittelstange im Innenraum der Kabine konstruiert. Hatte nur Nachteile. Beim Ein- und Aussteigen schaukelten die Kabinen so stark, dass das Peronal diese per Hand stabilisieren mußte. Ich dachte immer, sie wäre ein Indiz für eine Gewichtsklemme.
Dann die Betonklötze unter den Sitzen, wozu? Wegen Windproblemen? Dann hätten andere EUB doch auch davon betroffen sein müssen.

Doppelmayr hat die Mittelstange sofort beim zweiten Projekt eliminiert und eine Vierpunktaufhängung eingeführt.
Michael Meier
Aconcagua (6960m)
Beiträge: 7332
Registriert: 18.06.2002 - 21:50
Skitage 25/26: 0
Ski: nein
Snowboard: nein
Hat sich bedankt: 0
Danksagung erhalten: 10 Mal

Beitrag von Michael Meier »

Diese Mittelstangen kamen von CWA. Die neueren Bahnen mit 102er Klemmen haben andre Kabinen. Dementsprechend auch keine Mittelstange. Die 4EUB Wasserwendi-Käserstatt am Hasliberg war von Müller. Hatte auch diese Doofen Mittelstangen. Die 4EUB Reuti-Bidmi-Mäggisalp hatte anfänglich auch Mittelstangen. Dann kamen neuer CWA Glacier Kabinen aus Sass Grund zu den Tourist 4 hinzu. Diee hatten keine Stangen mehr. Die Steine sind gegen den Seitenwind. Gibt es bei anderen Bahnen auch. Zum Beispiel die 4EUB Geils-Hahnenmoos in Adelboden, Die 4EUB Hochsass Saas Grund (Müller), usw. Diese sind nur Temporär drinn. Macht man bei Pendelbahnen auch so. Praktisch alle 4EUB's von Doppelmayr sowie viele 3KSB's und 2KSB besassen bis 1980 (bei CLD bis 84) diese VR102 oder eine erweiterte abart davon. (Siehe das Bild von Chasseral) Auch Garaventa hat 2 Bahnen nach diesem Typ gebaut. Eine steht noch.
Benutzeravatar
Christoph Lütz
Wurmberg (971m)
Beiträge: 1128
Registriert: 19.12.2005 - 10:30
Skitage 25/26: 0
Ski: ja
Snowboard: nein
Hat sich bedankt: 6 Mal
Danksagung erhalten: 76 Mal

Beitrag von Christoph Lütz »

Warum gab es in Österreich 1973 mit der Zulassung der VR102 so massive Probleme? Angeblich wurde damals von den Wiener Behörden immer wieder behauptet, "sie rutscht". Girak hatte angeblich weniger Probleme mit der Müller-Klemme obwohl doch beides Federklemmen waren.

Nachzulesen in Weltseilbahngechichte II von HDS
Michael Meier
Aconcagua (6960m)
Beiträge: 7332
Registriert: 18.06.2002 - 21:50
Skitage 25/26: 0
Ski: nein
Snowboard: nein
Hat sich bedankt: 0
Danksagung erhalten: 10 Mal

Beitrag von Michael Meier »

Die Müllerklemme ist im Gegensatz zur Von Roll Klemme eine Schraubklemme mit Federunterstützung und keine Kniehebelklemme.
Benutzeravatar
Christoph Lütz
Wurmberg (971m)
Beiträge: 1128
Registriert: 19.12.2005 - 10:30
Skitage 25/26: 0
Ski: ja
Snowboard: nein
Hat sich bedankt: 6 Mal
Danksagung erhalten: 76 Mal

Beitrag von Christoph Lütz »

Ja, du hast recht. Ist wohl doch nicht vergleichbar!

Aber kommen wir nochmal zum Verkehrshaus in Luzern zurück:
Nette Ausstellung, aber da passt doch so einiges an den Exponaten nicht zusammen (siehe oben). Auch die Beschriftungen/Informationen passen nicht immer.
Nicht nur bei den ausgestellten Klemmen, auch die Pendelbahnkabine "Längfluh" ist doch nur aus irgendwelchen Einzelteilen von irgendwo her zusammengeflickt.

Antworten

Zurück zu „Seilbahnen“